CakePHPのpostlinkで生成した削除リンクをクリックしても処理が実行されない対処法
postlinkで生成した削除リンクをクリックしても処理が実行されないときの対処法
削除をクリックしても処理されないという発生した事象
CakePHP4、CakePHP5環境で、一覧表にある「postlink()」から生成された「削除」のリンクをクリックしても処理が実行されないという不具合が発生しました。
そして「OK」をクリックしても削除処理は実行されない、という不具合です。
削除をクリックしても処理されない原因
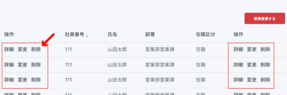
今回の原因は、上記の画像にもありますが、「詳細」「変更」「削除」の処理を一覧表の右と左の両方に表示していることでした。
上記の画像は一覧表の項目が少ないため、表の左右に付ける必要性を感じませんが、実際の表は項目が多くスクロールさせる必要がありました。
そのため、右端までスクロールさせなくてもいいよう、左右にリンクを設置することにしました。
その際のコードが下記になります。
不具合が発生したソースコード
|
1 2 3 4 5 6 7 8 9 10 11 12 13 14 |
<?php $actionLink = $this->Html->link("詳細", ['action'=>'view', $user->id]) . " "; $actionLink .= $this->Html->link("変更", ['action'=>'edit', $user->id]) . " "; $actionLink .= $this->Form->postLink("削除", ['action'=>'delete',$user->id], ['confirm' => __('Are you sure you want to delete # {0}?', $user->id)]); ?> <?php /* 左側の操作の列 */ ?> <td class="actions"><?= $actionLink ?></td> : 中略 : <?php /* 右側の操作の列 */ ?> <td class="actions"><?= $actionLink ?></td> |
上記のソースコードで不具合が発生する原因
このような記述をすると、「$this->Form->postLink()」で生成される formタグの name(「<form name=”post_691428....”」の部分)が同じものが 2つ生成されるのです。
「name」の IDが同一なものが複数あるため、いざ処理を実行しようとすると、ブラウザはどちらの formタグの処理を実行すればいいのかが分からないため、処理の継続ができなくなる、という不具合でした。
(不具合が発生するのは「$this->Form->postLink()」だけで、「詳細」「変更」のリンクはただのリンクなので、いくつ複製しても全く問題ありません。)
不具合を解決するソースコード
解決策としては、下記のように出力の都度「$this->Form->postLink()」を実行することです。(もう少しスマートな書き方はできますが...)
|
1 2 3 4 5 6 7 8 9 10 11 12 13 14 15 16 17 18 19 20 |
<?php $actionLink = $this->Html->link("詳細", ['action'=>'view', $user->id]) . " "; $actionLink .= $this->Html->link("変更", ['action'=>'edit', $user->id]) . " "; $actionLink .= $this->Form->postLink("削除", ['action'=>'delete',$user->id], ['confirm' => __('Are you sure you want to delete # {0}?', $user->id)]); ?> <?php /* 左側の操作の列 */ ?> <td class="actions"><?= $actionLink ?></td> : 中略 : <?php $actionLink = $this->Html->link("詳細", ['action'=>'view', $user->id]) . " "; $actionLink .= $this->Html->link("変更", ['action'=>'edit', $user->id]) . " "; $actionLink .= $this->Form->postLink("削除", ['action'=>'delete',$user->id], ['confirm' => __('Are you sure you want to delete # {0}?', $user->id)]); ?> <?php /* 右側の操作の列 */ ?> <td class="actions"><?= $actionLink ?></td> |
リンクをクリックしても動作しなかった時の詳細な状況
今回発生した事象について、どのような状況が発生していたか、改めて説明します。
(似たような症状が発生した方が確認するための情報として書いておきます。)
リンクをクリックしても PHPのエラーログは出力されない
まず、PHPのエラーログは出力されません。
「$this->Form->postLink()」で生成される処理は、JavaScriptを利用して、POSTする処理となっています。
そのため、JavaScript側の不具合か、PHP側の不具合か、を見極めるために、PHP側の関数にログを出力する処理を追加しました。
しかし、ログは出力されなかったため、PHP側ではなく、その処理に到達するまでに不具合があることを確認しました。
ChromeのDevToolsのコンソールにエラー出力
そのため、今度は Chromeの DevToolsを起動し、実行すると、下記のエラーが発生していることを確認しました。
|
1 2 3 |
VM597 users:1 Uncaught TypeError: document.post_9999999999.submit is not a function at HTMLAnchorElement.onclick (VM597 users:1:82) onclick @ VM597 users:1 |
|
1 |
if (confirm(this.dataset.confirmMessage)) { document.post_9999999999.submit(); } event.returnValue = false; return false; |
上記のエラーはざっくりとは下記の内容です。
『JavaScriptが「document.post_9999999999」という名前の HTMLフォーム要素を見つけ、その.submit()メソッドを呼び出そうとしました。
しかし、JavaScriptがこの名前の要素を見つけることはできました。』
そして、エラーの内容を ChatGTPや Google Geminiに聞いても
「CSRFトークンが欠落している(最も可能性が高い)」
「JavaScriptが正しく実装されていない」
と言った返答をするだけで、正しい解決策には至りませんでした。
そして、いろいろ確認していく中で、『「document.post_9999999999」を見つけられない』原因が、「document.post_9999999999」が 2つあるためであることを認識し、問題を解決することができた、ということになります。
「postLink()」で発生した不具合の対処のまとめ
今回の不具合は、「$this->Form->postLink()」で生成される HTMLのソースを変数に入れ、複数個所で echoすることで、同一の IDをもつフォームが生成されることが原因でした。
最近は、不具合が発生しても生成AIが答えてくれるため、このブログに記事を書く必要性を感じなくなりましたので、しばらく記事を書いていませんでした。
ですが、今回の不具合は、おそらく過去に記事として書かれたことがない不具合なのだろうと思いましたので、こうして記事にすることにしました。
CakePHPのデフォルトテンプレートの一覧表は、項目が多いとスクロールが表示される仕様になっています。
そのため、今回の私のように、表の左右に「操作」の列を作りたいと思う方もそれなりにいるのではないか、と思いますが、同じような不具合が発生したときの一助になれば、と思っています。
GoogleAdwords
GoogleAdwords
この記事が参考になったと思いましたらソーシャルメディアで共有していただけると嬉しいです!
関連記事
-
-
CakePHP 2.3 Search Pluginで検索処理 その2表示件数を動的に変える方法
CakePHPの検索プラグイン Search Pluginの検索処理の中で動的に表示件数を変える方法です。
-
-
CakePHPで favicon.icoやapple-touch-icon-144-precomposed.pngが could not be foundのエラーが出るときの対処方法
CakePHPで「CakeDC/Users」などルーティングを行うプラグインを利用するときに、favicon.icoやapple-touch-icon-144-precomposed.pngがNotFoundエラーになることがある。その対処方法の解説。
-
-
CakePHP3でQRコードを作成、表示するライブラリ「cakePHP-QR-Code-Helper」
CakePHPでQRコードを生成するライブラリ「cakePHP-QR-Code-Helper」の紹介。GDライブラリのインストールも必要ないHelperとして提供されているため、ファイルを設置すればすぐに使用可能。
-
-
CakePHP3でkeywords、DescriptionをHTMLヘルパーを使って設定する
CakePHP3のkeywordsとdescriptionを設定する方法の解説。CakePHP3にはmetaタグを編集するHTMLヘルパーが用意されているためそれを利用すればOK!ポイントはブロック化を有効にすること。
-
-
CakePHP4のCakeDC/Usersの Usersへの接続、バリデーションのカスタマイズ方法解説
CakeDC謹製Usersプラグインの紹介。CakePHP4で使う場合のUsersのカスタマイズとして入力項目のバリデーションの変更を、プラグインのファイルは触らずオーバーライドにより実装する方法を解説する。
-
-
CakePHP4のcake cache clear_allでPermission deniedはパーミッションの変更が必要
CakePHP4でキャッシュをクリアするコマンドcake cache clear_allでPermission deniedのエラーが出るのはcakeにパーミッションが足りないとき。その対処方法を解説。
-
-
CakePHP3で他のテーブルのマスタテーブルからセレクトボックス(プルダウンリスト)を作る
他のテーブルのマスタのレコードからプルダウンリストを作成し、選択できるようにするサンプルプログラムと解説。ORMの設定によりデータベースの値を取得し、配列を作成し optionsに与える。
-
-
CakePHP3で環境変数を設定して本番環境と開発環境を分けて処理をする場合
CakePHP3で開発環境と本番環境とで違う設定ファイルを読み込ませて環境ごとに定数を切り替える方法を解説。Apacheのhttpd.confに環境変数を設定し、それを読み込み判別する。
-
-
CakePHP3のCakeDC/Users、Authでログインなしでもアクセスを許可する設定
CakePHP3の Authコンポーネントや CakeDC/Usersプラグインなどを利用したユーザ管理・認証システムにおいて、ログインしていなくても見ることができるページの設定方法を解説。
-
-
CakePHP 2.3 Search Pluginで検索処理 その3入力エリア一つで複数の項目を同時に検索する方法
CakePHPの検索プラグイン Search Pluginの検索処理の中で入力エリア一つで複数の項目を同時に検索する方法を解説。

